Login
Section Innovation in Electrical Engineering

FMCW Radar Based Human Detection System for Smart Home Security

Sistem Deteksi Manusia Berbasis Radar FMCW untuk Keamanan Rumah Pintar
Vol. 27 No. 1 (2026): January:

Yuswono Hariswanda (1), Shazana Dhiya Ayuni (2)

(1) Program Studi Teknik Elektro, Universitas Muhammadiyah Sidoarjo, Indonesia
(2) Program Studi Teknik Elektro, Universitas Muhammadiyah Sidoarjo, Indonesia

Abstract:

This study addresses the development of a home security system utilizing Frequency Modulated Continuous Wave radar for human presence detection. General Background: Home security systems require reliable detection technologies capable of operating under various environmental conditions. Specific Background: Conventional systems such as CCTV and PIR sensors face limitations in low-light and obstructed environments. Knowledge Gap: There is a need for a detection system that maintains accuracy regardless of lighting and can detect through obstacles. Aims: This study aims to design and implement a human detection system using a 24 GHz HLK-LD2450 sensor integrated with an ESP32 microcontroller and Telegram-based notification system. Results: The system successfully detects human presence in real time within a 6-meter range and ±60° angle, providing stable measurements of position, distance, and speed, with consistent updates every eight seconds. Novelty: The integration of FMCW radar with real-time Telegram notifications provides a combined local and remote monitoring capability under non-line-of-sight conditions. Implications: The proposed system offers a practical solution for improving home security by enabling reliable detection in diverse environmental conditions and enhancing remote monitoring capabilities.


Keywords: Fmcw Radar, Human Detection, Home Security System, Esp32, Telegram Notification


Key Findings Highlights



  1. Real-time tracking provides stable spatial and motion data in indoor environments

  2. Radar sensing enables detection under obstructed and low-light conditions

  3. Integrated messaging system delivers continuous remote monitoring capability

Downloads

Download data is not yet available.

FMCW (Frequency Modulated Continuous Wave) Frequency Application for Human Presence Detection as a Home Security System

[ Aplikasi Frekuensi F MCW (Frequency Modulated Continuous Wave) Untuk Deteksi Keberadaan Manusia Sebagai Home Security System ]

Yuswono Hariswanda1), Shazana Dhiya Ayuni,2)

1) Program Studi Teknik Elektro, Universitas Muhammadiyah Sidoarjo, Indonesia

2) Dosen Program Studi Teknik Elektro, Universitas Muhammadiyah Sidoarjo, Indonesia

*Email Penulis Korespondensi2: shazana@umsida.ac.id

Abstract . This research aims to develop a home security system based on FMCW (Frequency Modulated Continuous Wave) radar technology by utilizing the HLK-LD2450 sensor to accurately detect human presence. The background of the research is based on the limitations of conventional security systems (such as CCTV and PIR sensors) in detecting objects in dark, obstructed, or extreme environmental conditions. This type of radar works by measuring the frequency difference between the emitted signal and the reflected signal to detect the presence and speed of an object. In this study, the HLK-LD2450 sensor operating at 24 GHz microwave frequency is used to detect human movement. The FMCW radar was chosen for its ability to detect objects through obstacles (non-line of sight) and its immunity to lighting conditions. The system is designed by integrating the HLK-LD2450 sensor (operating at a frequency of 24 GHz, with a detection range of 6 meters and an angle of ±60°) as a human motion detector, the ESP32 microcontroller for data processing, a buzzer as a local alarm, and a Telegram bot for real-time notifications. The prototype was tested with human subjects on a limited scale to minimize variability. The test results show that the system is capable of accurately detecting human presence in a room, with a high level of effectiveness and a quick response time.

Keywords – FMCW Radar, HLK-LD2450, Human detection, Home security, ESP32, Telegram bot.

Abstrak . Penelitian ini bertujuan mengembangkan sistem keamanan rumah berbasis teknologi radar FMCW (Frequency Modulated Continuous Wave) dengan memanfaatkan sensor HLK-LD2450 untuk mendeteksi keberadaan manusia secara akurat. Latar belakang penelitian didasari oleh keterbatasan sistem keamanan konvensional (seperti CCTV dan sensor PIR) dalam mendeteksi objek di area gelap, terhalang, atau kondisi lingkungan ekstrem. Radar jenis ini bekerja dengan mengukur perbedaan frekuensi antara sinyal yang dipancarkan dan sinyal pantulan untuk mendeteksi keberadaan serta kecepatan objek. Dalam penelitian ini digunakan sensor HLK-LD2450 yang mengoperasikan gelombang mikro 24 GHz untuk mendeteksi pergerakan manusia. Radar FMCW dipilih karena kemampuannya mendeteksi objek melalui rintangan (non-line of sight) dan tidak terpengaruh oleh kondisi pencahayaan. Sistem dirancang dengan mengintegrasikan sensor HLK-LD2450 (beroperasi pada frekuensi 24 GHz, jangkauan deteksi 6 meter, sudut ±60°) sebagai pendeteksi gerakan manusia, mikrokontroler ESP32 untuk pemrosesan data, buzzer sebagai alarm lokal, dan bot Telegram untuk notifikasi real-time. Prototipe diuji dengan objek manusia dalam skala terbatas untuk meminimalkan variabilitas. Hasil pengujian menunjukkan sistem mampu mendeteksi keberadaan manusia secara akurat dalam ruangan, dengan tingkat efektivitas yang tinggi dan respon waktu yang cepat.

Kata Kunci - Radar FMCW, HLK-LD2450, D eteksi manusia, K eamanan rumah, ESP32, Telegram bot.

I. Pendahuluan

Keamanan rumah adalah bagian penting dari kehidupan masyarakat. Kemajuan teknologi mendorong tentang sistem keamanan rumah yang canggih dan efektif . Salah satu metode yang di gunakan adalah radar. Radar adalah alat yang menggunakan gelombang elektromagnetik untuk melacak, mengukur jarak, dan membuat peta objek seperti pesawat dan kendaraan bermotor, serta memberikan informasi cuaca .

Radar atau radio detection and ranging juga dikenal sebagai deteksi dan jangkauan radio, dapat berupa teknologi atau perangkat. Teknologi radar ini banyak sekali di gunakan dalam kehidupan sehari-hari contohnya adalah Sistem Pemantauan Keamanan Tanggul Lapindo Berbasis IoT . Alat sistem keamanan tanggul lapindo ini yang di gunakan adalah alat radar yang mendeteksi adanya getaran berbeda dari sistem keamanan rumah yang fokus pada deteksi intrusi atau pergerakan manusia melalui radar. Radar terdiri dari dua jenis electromagnet yaitu radio dan mikro. Pantulan gelombang yang dipancarkan membantu untuk mengetahui keberadaan objek . Radar bisa dibagi menjadi dua jenis berdasarkan sinyal yang diterimanya yaitu Radar Pulsa (Pulsed Wave) dan Continuous Wave (CW) . Salah satu jenis radar CW yang digunakan yaitu radar gelombang kontinu termodulasi frekuensi (FMCW). Radar FMCW menggunakan sinyal segitiga yang dimodulasikan dalam frekuensi oleh sinyal sinusoidal kontinu. Artinya, radar ini menggunakan teknik Modulasi Frekuensi (FM), di mana frekuensi sinyal sinusoidal meningkat selama periode waktu tertentu .

Sistem radar FMCW mengukur perbedaan frekuensi (Δf, karena waktu berjalan) antara sinyal gema yang dikirim dan diterima untuk menghitung jarak, dan juga mengukur frekuensi doppler (karena efek doppler) untuk menghitung kecepatan objek. Sinyal yang dikirimkan ke objek akan dipantulkan kembali ke radar Doppler untuk diolah oleh sistem radar . Teknik radar Frequency Modulated Continuous Wave (FMCW) digunakan untuk mengukur jarak objek dengan membandingkan sinyal yang dipancarkan dan sinyal yang dipantulkan. Teknik ini mengirimkan sinyal yang terus menerus (continuous wave) dengan frekuensi yang dimodulasi (berubah secara teratur). Sinyal yang dipantulkan dari target akan mengalami perubahan frekuensi sesuai dengan jarak dan kecepatan target. Dalam konteks deteksi manusia, FMCW dapat digunakan untuk mendeteksi perubahan frekuensi akibat pergerakan tubuh manusia. Teknik ini sangat efisien karena mampu bekerja dalam berbagai kondisi lingkungan dan dapat mendeteksi objek meskipun tidak terlihat secara langsung (non-line of sight detection) .

Perangkat yang di gunakan sensor HLK-LD 2450. HLK-LD2450 adalah modul sensor pelacakan target gerak dari seri radar gelombang milimeter Hilink 24G, yang mencakup perangkat keras sensor radar 24 GHz yang sangat disederhanakan dan firmware algoritme cerdas. Perangkat keras sensor terdiri dari chip radar gelombang milimeter AloT, antena mikrostrip satu pemancar-dua penerima berkinerja tinggi, serta MCU berbiaya rendah dan sirkuit tambahan periferal. Firmware algoritme cerdas menggunakan bentuk gelombang FMCW dan teknologi pemrosesan sinyal canggih milik chip radar. .

Menggunakan radar dalam sistem keamanan rumah memiliki kelebihan tertentu, tetapi juga membawa beberapa tantangan. Pemilihan sensor yang tepat sangat penting untuk memastikan efisiensi dan keandalan sistem. Keunggulan sistem keamanan menggunakan rada yaitu memiliki deteksi yang akurat, radar tidak terpengaruh oleh kondisi pencahayaan (gelap atau terang) sehingga sangat efektif siang maupun malam, radar dapat mencakup area deteksi yang lebih besar dibandingkan teknologi lain, radar dapat menghitung jarak dan kecepatan objek yang terdeteksi, memungkinkan klasifikasi ancaman lebih baik (misalnya, membedakan manusia dan hewan), sensor radar lebih tahan terhadap kondisi lingkungan ekstrem seperti hujan, kabut, atau suhu tinggi dibandingkan teknologi lainnya . Sensor radar lebih tahan terhadap kondisi lingkungan ekstrem seperti hujan, kabut, atau suhu tinggi dibandingkan teknologi lainnya. Tantangan memakai sensor radar adalah sistem berbasis radar lebih mahal dalam hal perangkat keras dan pengembangan dibandingkan dengan teknologi sederhana seperti PIR, mengintegrasikan radar ke dalam sistem keamanan membutuhkan keahlian teknis lebih tinggi terutama untuk mengolah data dan mengintegrasikan dengan sistem lain seperti alarm, radar yang sangat sensitif bisa memicu false alarm akibat gerakan benda non-manusia, seperti dahan pohon atau burung. Adapun perbandingan sistem keamanan rumah menggunakan sensor yang tidak menggunakan radar contoh PIR (Passive Infrared), dan sensor ultrasonik. Untuk sensor PIR (Passive Infrared tidak bekerja dengan baik di area yang panas karena mengandalkan perbedaan suhu dibandingkan sensor radar , sensor PIR (Passive Infrared) hanya mendeteksi panas dari pergerakan, jarak deteksi objek pendek hingga menengah (biasanya 5-12 meter) .

Untuk selanjutnya adalah Sensor Ultrasonik prinsip kerjanya menggunakan gelombang suara ultrasonik (frekuensi tinggi, biasanya >20 kHz) untuk mendeteksi objek melalui pantulan suara sedangkan sensor radar prinsip kerjanya menggunakan gelombang elektromagnetik . Jarak deteksi sensor ultrasonik ini berkisaran 2 centimeter – 10 meter tergantung spefikasi sensor dan lebih pendek dari sensor radar yang jarak jangkauannya >10 meter tergantung jenis radarnya . Akurasi deteksi pada sensor ultrasonik ini tinggi untuk jarak pendek, tetapi sulit mendeteksi objek kecil atau lunak dan untuk sensor radar akurasi deteksi tinggi untuk jarak menengah hingga jauh, termasuk objek kecil atau cepat. Kemampuan penetrasi sensor ultrasonik tidak bisa menembus dinding atau bahan tebal sedangkan sensor radar dapat menembus dinding atau bahan tebal . Itulah perbandingan sistem keamanan sensor yang menggunakan radar dan tidak menggunakan radar.

Sensor HLK-LD2450 yang di gunakan penelitian ini menggunakan teknologi gelombang mikro dengan frekuensi 24 GHz, dirancang untuk mendeteksi keberadaan objek logam melalui perubahan medan elektromagnetik. Dalam konteks ini, diperlukan evaluasi kinerja HLK-LD2450 terhadap sensor lain, seperti ultrasonik, inframerah, induktif, dan kapasitif, untuk memahami keunggulan spesifiknya. Sensor HLK-LD2450 menggunakan teknologi gelombang mikro dirancang untuk mendeteksi keberadaan objek logam melalui perubahan medan elektromagnetik. Dalam konteks ini, diperlukan evaluasi kinerja HLK-LD2450 terhadap sensor lain, seperti ultrasonik, inframerah, induktif, dan kapasitif, untuk memahami keunggulan spesifiknya.

Penelitian ini membahas permasalahan integritas Home security menggunakan sistem radar . Penelitian ini juga memanfaatkan teknologi HLK-LD 2450 sebagai sistem pelacakan target gerak. HLK-LD2450 digunakan karena dapat melacak dengan radar 24 GHz. Sensor HLK-LD 2450 memiliki akurasi yang cukup tinggi, terutama dalam lingkungan indoor, dan mudah diintegrasikan dengan komponen lain seperti buzzer untuk memberikan peringatan audio . Selain itu, dengan mengintegrasikan Telegram menggunakan API bot Telegram, pengguna dapat dengan mudah memantau keamanan rumah secara real-time dari jarak jauh .

Sistem keamanan rumah yang menggunakan CCTV memiliki keterbatasan dalam mendeteksi keberadaan manusia di area yang gelap atau terhalang. Radar FMCW menawarkan solusi yang lebih efektif dengan kemampuannya mendeteksi objek melalui rintangan dan dalam kondisi pencahayaan rendah.

II. Metode

  1. Alur Penelitian

Alur penelitian merupakan gambaran kegiatan yang dilakukan dari awal hingga akhir suatu penelitian untuk mencapai hasil akhir. Di bawah ini adalah tahapan atau alur penelitian untuk mengerjakan alat pendeteksi keberadaan manusia berbasis FMCW di halaman rumah .

Pada tahap awal ini, peneliti mengumpulkan berbagai data yang berkaitan dengan sistem keamanan rumah dan teknologi deteksi keberadaan manusia. Data ini bisa berupa spesifikasi teknis sensor FMCW, karakteristik lingkungan rumah, kebutuhan sistem keamanan, serta data penggunaan teknologi serupa.

Agar lebih memahami permasalahan yang akan diteliti penulis harus mencari referensi dan membaca studi literatur yang relevan sebagai bahan penunjang dan reverensi.

Menganalisa permasalahan yang timbul dan kemudian akan dirumuskan menjadi permasalahan. Batasan dari studi literatur sebelumnya dapat dijadikan sebagai pengembangan dan acuan pada penelitian ini.

Dari permasalahan yang didapatkan yaitu bagaimana cara implementasi sensor HLK-LD2450 bisa mendeteksi keberadaan manusia dengan akurat dan presisi.

  1. Pengumpulan data
  2. Pengumpulan data
  3. Studi Literatur
  4. Analisa permasalahan
  5. Pemecahan masalah
  6. Perancangan Sistem

Pada tahap ini alat siap digunakan dan di implementasikan sebagai alat pendeteksi keberadaan manusia berbasis FMCW.

Gambar 1. Diagram blok perancangan sistem

Dari diagram blok diatas menjelaskan :

  1. Sensor HLK-LD2450 :

disekitarnya. HLK-LD2450 adalah sensor radar yang mampu mendeteksi keberadaan manusia berdasarkan perubahan posisi atau gerakan.

  • Sensor ini digunakan untuk mendeteksi jarak objek (manusia) yang berada
  • Sensor ini mengirimkan data jarak ke mikrokontroler ESP32.
  1. ESP 32 Pin 38

HLK-LD2450.

  • Bertindak sebagai unit pemrosesan utama, ESP32 menerima data dari sensor
  • ESP32 memiliki dua jalur output utama berdasarkan kondisi deteksi :
  1. Aktifkan Buzzer
  • Bertindak sebagai unit pemrosesan utama, ESP32 menerima data dari sensor HLK-LD2450.
  1. Kirim Data ke Wi-Fi
  • Secara bersamaan, ESP32 akan mengirimkan data melalui jaringan Wi-Fi untuk mengaktifkan sistem notifikasi jarak jauh.
  1. Wi-Fi
  • Modul Wi-Fi internal pada ESP32 digunakan untuk mengirimkan pesan ke internet.
  1. Buzzer Piezoelectrik 5-24 volt
  • Berfungsi sebagai Mengaktifkan buzzer sebagai peringatan lokal.
  1. Bot Telegram
  • ESP32 terhubung dengan Bot Telegram, yang digunakan untuk mengirimkan pesan otomatis.
  1. Hasil dan pembahasan

Hasil analisa digunakan untuk memecahkan masalah yang ada. Selain itu pengumpulan data dilakukan dengan tujuan untuk mendapatkan hasil dari perangkat yang digunakan dan akan terkumpul dari penggunanan alat yang berulang.

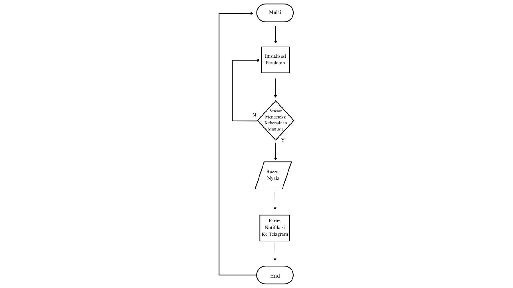
Gambar 2. flowchart sistem pendeteksi keberadaan manusia

Pada tahap ini, perancangan software dilakukan dengan menulis program pada mikrokontroler, yang berfungsi sebagai pengendali sistem yang akan dibuat. Pertama, perancangan dilakukan dengan menulis program kendali mikrokontroler pada alat gateway. perancangan sistem pendeteksi keberadaan manusia. Dimana mikrokontroller ESP 32 akan memproses data yang terhubung HLK-LD 2450. Setelah data di proses Sensor HLK-LD 2450 akan mendeteksi adanya gerakan manusia. Untuk mendeteksi gerakan manusia mempunyai faktor agar dapat terdeteksi seperti jarak jangkauan, sudut dengan koordinat x dan y, dan batas ketinggian alat agar dapat mendeteksi gerakan. Pembacaan sensor jika udah di pasang benar data sensor akan di kirim kan melalui 2 output yaitu buzzer dan telegram. Output buzzer ini merupakan alat peringatan atau bel jika ada gerakan manusia. Buzzer ini merupakan alat peringatan di malam hari jika pemilik rumah ada di rumah. Sedangkan Output Telegram untuk notifikasi jika ada gerakan manusia mendekat. Output ini sebagai notifikasi peringatan jika pemilik rumah tidak ada di rumah.

  1. Perancangan perangkat keras

Pada tahap ini, dirancang sebuah sistem deteksi keberadaan manusia berbasis sensor radar HLK-LD2450 yang terintegrasi dengan mikrokontroler ESP32 dan sistem notifikasi berbasis Telegram. Tujuan dari perancangan ini adalah untuk membangun prototipe sistem keamanan rumah (home security system) yang mampu memberikan peringatan lokal dan jarak jauh secara real-time.

Gambar 3. rangkaian pendeteksi keberadaan manusia

Gambar 3 Merupakan gambar perancangan alat pendeteksi keberadaan manusia yang melibatkan rangkaian modul sensor HLK-LD 2450 untuk membaca gerakan manusia dengan pita frekuensi 24GHz. Modul sensor HLK-LD 2450 ini mampu mendeteksi keberadaan manusia sejauh 6 meter. Dengan jarak deteksi 6 meter mempunyai rentang sudut deteksi adalah ±60° di tengah normal ke bidang antena radar. Pemasangan di dinding perlu mempertimbangkan skenario aplikasi bayangan dan gangguan atas, kisaran ketinggian pemasangan yang disarankan adalah 1,5 ~ 2m. Modul LD2450 berkomunikasi dengan dunia luar melalui port serial dengan baud rate default 256000, 1 stop bit, dan tanpa bit paritas. Radar mengeluarkan informasi tentang target yang terdeteksi, termasuk koordinat x di area tersebut, koordinat y, dan nilai kecepatan target. Format data yang dilaporkan oleh radar ditunjukkan pada tabel di bawah ini dan dilaporkan pada 10 frame per detik. Dan menggunakan mikrokontroller ESP 32 – 38 PinWide sebagai pengolah data pembacaan modul sensor HLK-LD 2450 untuk di kirim ke buzzer dan telegram . Untuk HLK-LD 2450 tegangan catu daya modul adalah 5V, dan kapasitas catu daya dari catu daya input harus lebih besar dari 200mA. Level output IO modul adalah 3,3 V. Kecepatan baud default port serial adalah 256000, dengan 1 stop bit dan tanpa bit paritas. Dan Outputnya Buzzer dengan tegangan catu daya 3.3 v

Pengkabelan rangkaian alat pendeteksi keberadaan manusia
No. ESP 32 HLK-LD 2450
1. 5v 5v
2. Gnd Gnd
3. Rx TX
4. Tx RX

Tabel 1 Pengkabelan rangkaian alat pendeteksi keberadaan manusia

No. ESP 32 Buzzer
1. 3.3v 3.3v
2. Gnd Gnd

Tabel 1 Pengkabelan rangkaian alat pendeteksi keberadaan manusia yang menggunakan modul sensor HLK-LD 2450 di hubungkan ke ESP 32 – 38 pin widemelalui pin vcc ke 5 volt ESP 32, GND HLK-LD 2450 ke GND ESP 32, Pin TRX HLK-LD 2450 ke TTX ESP 32 dan pin TTX HLK-LD 2450 ke pin TRX ESP 32. Untuk pengkabelan pada output Buzzer adalah pin sumber tegangan buzzer 3.3 volt di sambungkan pada pin 3.3 volt ESP 32. Dan GND pada Buzzer di sambungkan pada GND ESP 32. Sedangkan output telegram merupakan fitur program yang akan memberi notifikasi saat ada gerakan manusia. Untuk penggunaan notifikasi telegram harus membuat bot terlebih dahulu. Menggunakan library UniversalTelegramBot untuk komunikasi dengan Telegram. Cara penggunaanya agar tersambung telegram Ganti NAMA_WIFI dan PASSWORD_WIFI dengan kredensial WiFi Anda. Masukkan token bot dan chat ID Telegram Anda. Upload kode ke ESP32 Pastikan semua koneksi kabel sudah benar dan jaringan internet stabil .

III. Hasil dan Pembahasan

Gambar 4. Hasil Penelitian

Pengujian dilakukan pada sistem deteksi keberadaan manusia berbasis sensor yang dihubungkan ke ESP32 dan diintegrasikan dengan notifikasi Telegram melalui bot. Pengujian dilakukan di area dalam dan luar ruangan seperti yang tampak pada dokumentasi, dengan target manusia bergerak secara perlahan di depan sensor.Sistem berhasil mengirimkan data berupa:

  • Posisi koordinat (X dan Y )
  • Jarak ( Distance)
  • Kecepatan pergerakan (Speed)
  • Waktu deteksi (Time)

Penelitian ini menunjukkan bahwa sistem deteksi berbasis FMCW mampu mendeteksi pergerakan dan keberadaan manusia secara akurat dan stabil. Deteksi awal menunjukkan bahwa target berada di dekat sensor pada posisi yang agak menyamping. Posisi target yang konsisten, yaitu sekitar koordinat X dan Y -3250 mm dan jarak sekitar 4600 mm, menunjukkan bahwa tidak banyak posisi yang berpindah. Kecepatan deteksi berkisar antara -326,00 mm/s hingga -327,52 mm/s, yang menunjukkan pergerakan target yang stabil menuju sensor. Selain itu, data diperbarui setiap delapan detik, menunjukkan bahwa sistem beroperasi secara real time dan tanpa gangguan.

No. Waktu Posisi X Posisi Y Jarak Kecepatan (s) (mm) (mm) (mm) (mm/s)
1 . 130 -41.5 -3158.3 3158 -327.52
2 . 138 -3258.5 -3253.2 4604 -326.00
3 . 146 -3257.7 -3253.6 4604 -326.00
4 . 154 -3257.8 -3253.2 4603 -326.00
5 . 162 -3254.0 -3252.9 4601 -326.00
6 . 170 -3258.0 -3252.9 4603 -326.00

Tabel 2. Data yang diterima melalui Telegram

Pe mbahasan

Penelitian ini mengimplementasikan sistem keamanan rumah berbasis radar FMCW dengan menggunakan sensor HLK-LD2450 dan mikrokontroler ESP32. Sistem ini dapat mendeteksi gerakan manusia secara real time dan mengirimkan notifikasi melalui Telegram. Sensor HLK-LD2450 mengukur posisi X dan Y objek manusia sebelum menghitung jarak Euclidean. Data menunjukkan bahwa posisi X dan Y target stabil secara stabil pada jarak sekitar -3250 mm, yang menunjukkan bahwa target berada pada posisi titik tetap atau bergerak lambat. Kecepatan deteksi berkisar antara -326,00 mm/s hingga -327,52 mm/s, yang menunjukkan bahwa target mampu menyamai kecepatan relatif sensor. Hal ini menunjukkan bahwa sistem dapat memprediksi perilaku manusia secara akurat.

  1. Perhitungan

Rumus Euclidean:

d = √(x² + y²)

Contoh (Waktu 130 detik) :

x = -41.5 mm, y = -3158.3 mm

d = √((-41.5)^2 + (-3158.3)^2) = √(1722.25 + 9973869.89) = √9975592.14 ≈ 3158 mm

  1. Perhitungan Jarak dari Koordinat X dan Y
  2. Perhitungan Kecepatan dari Selisih Jarak

Rumus kecepatan:

v = (d₂ - d₁) / (t₂ - t₁)

Contoh:

d₁ = 3158 mm pada t₁ = 130 s

d₂ = 4604 mm pada t₂ = 138 s

v = (4604 - 3158) / (138 - 130) = 1446 / 8 = 180.75 mm/s

Namun, kecepatan aktual berdasarkan data sensor adalah -326 mm/s, menunjukkan bahwa objek

bergerak mendekati sensor.

  1. Rata-rata perhitungan

Jarak Rata-rata = (3158 + 4604 + 4604 + 4603 + 4601 + 4603) / 6 = 4362.17 mm = 4.36 meter

Kecepatan Rata-rata = (-327.52 + (-326.00) * 5) / 6 = -326.25 mm/s

ΔX = -3258.0 - (-41.5) = -3216.5 mm

ΔY = -3252.9 - (-3158.3) = -94.6 mm

Δs = √((-3216.5)^2 + (-94.6)^2) = 3217 mm = 3.22 meter

Δt = 170 - 130 = 40 detik

  1. Rata-rata Jarak (Distance):
  2. Rata-rata Kecepatan (Speed):
  3. Perpindahan Koordinat X dan Y:
  4. Selisih Waktu Deteksi:
  5. Perkiraan Kecepatan berdasarkan Perpindahan:

v = Δs / Δt = 3217 mm / 40 s = 80.43 mm/s

  1. Dokumentasi Sistem

Gambar 5. Hasil data di ruangan garasi

Gambar tersebut menunjukkan tampilan Telegram pada ponsel yang memperlihatkan pesan-pesan notifikasi dari bot sistem. Setiap notifikasi memuat:

TARGET DETECTED

Position: X=-3257.8mm, Y=-3253.2mm

Distance: 4603mm

Speed: -326.0mm/s

Time: 154s

Uji coba dilakukan di lingkungan rumah dengan target manusia berjalan di depan sensor. Sistem berhasil mengirimkan data secara real-time ke Telegram sebagai bukti bahwa sistem berjalan dengan baik.

IV. Simpulan

Berdasarkan hasil perancangan dan pengujian, dapat disimpulkan bahwa sistem deteksi keberadaan manusia berbasis radar FMCW HLK-LD2450 yang terintegrasi dengan mikrokontroler ESP32, buzzer, dan notifikasi Telegram berhasil mendeteksi keberadaan serta pergerakan manusia secara real-time dengan tingkat akurasi yang tinggi. Hal ini dibuktikan dengan data posisi koordinat (X dan Y), jarak, serta kecepatan yang dihasilkan sensor secara konsisten dan diperbarui setiap delapan detik tanpa gangguan. Sensor HLK-LD2450 mampu mendeteksi objek manusia hingga jarak maksimal enam meter dengan sudut deteksi ±60°, serta tetap dapat bekerja optimal dalam berbagai kondisi pencahayaan baik siang maupun malam hari. Integrasi sistem dengan Telegram Bot memberikan keunggulan tambahan berupa notifikasi jarak jauh secara real-time kepada perangkat pengguna, sehingga meningkatkan efektivitas sistem dalam menjaga keamanan rumah. Selain itu, perbedaan antara kecepatan aktual gerak manusia yang dihitung berdasarkan perpindahan koordinat X dan Y dengan data kecepatan sensor menunjukkan perbedaan yang wajar, mengingat radar FMCW mengukur kecepatan radial bukan kecepatan perpindahan total. Secara keseluruhan, sistem ini efektif digunakan sebagai alat pendeteksi gerakan manusia untuk kebutuhan sistem keamanan rumah, baik untuk peringatan lokal menggunakan buzzer maupun untuk notifikasi jarak jauh melalui Telegram, dengan keunggulan dapat menembus hambatan fisik dan tidak tergantung pada kondisi pencahayaan lingkungan.

V. Ucapan Terima Kasih

Penulis ingin mengucapkan terima kasih dan syukur kepada Allah SWT dengan berbagai rahmat dan pertolongan-Nya, sehingga penulis bisa menuntaskan penelitian ini dengan lancar. Terima kasih juga buat semua pihak yang sudah ikut berkontribusi pada alur penelitian ini. Ucapan terima kasih khusus penulis sampaikan kepada para dosen pembimbing yang telah memberikan dukungan dan arahan selama penelitian berlangsung. Bantuan dan bimbingan mereka sangat berarti dan membantu penulis menyelesaikan penelitian ini dengan baik.

Referensi

References

S. Supiyandi, C. Rizal, M. Iqbal, M. N. H. Siregar, and M. Eka, “Smart Home Berbasis Internet of Things (IoT) Dalam Mengendalikan Dan Monitoring Keamanan Rumah,” Journal of Information System Research, vol. 4, no. 4, pp. 1302–1307, 2023.

“Radar,” Wikipedia, 2024.

S. D. Ayuni, S. Syahrorini, and J. Jamaaluddin, “Lapindo Embankment Security Monitoring System Based on IoT,” Elinvo Electronics Informatics and Vocational Education, vol. 6, no. 1, pp. 40–48, 2021.

Y. P. Haniah, “Pengenalan Teknologi Radar Untuk Pemetaan Spasial Di Kawasan Tropis,” 2021.

G. Amania, E. Ali, and A. A. Pramudita, “Design of FMCW Radar System Using SDR To Detect Vibration,” 2020.

A. E. Prasetiadi, “Teknologi Radar Frequency Modulated Continuous Wave FMCW Prinsip Kerja Dan Simulasi,” 2020.

P. Kurniasari et al., “Kinerja Pengolahan Sinyal Gerakan Tanda Isyarat Melalui Compressive Sampling Untuk Teknologi Radar Doppler Dengan Long Range,” 2023.

L. Cao, S. Liang, Z. Zhao, D. Wang, C. Fu, and K. Du, “Human Activity Recognition Method Based on FMCW Radar Sensor With Multi Domain Feature Attention Fusion Network,” Sensors, vol. 23, no. 11, 2023.

Hi-Link Electronic Co. Ltd., “HLK-LD2450 Motion Target Detection And Tracking Module Instruction Manual,” 2023.

Z. Wei et al., “MmWave Radar And Vision Fusion For Object Detection In Autonomous Driving A Review,” Sensors, vol. 22, 2022.

R. Toyib et al., “Penggunaan Sensor Passive Infrared Receiver PIR Untuk Mendeteksi Gerak Berbasis SMS Gateway,” 2022.

T. N. Arifin, G. F. Pratiwi, and A. Janrafsasih, “Sensor Ultrasonik Sebagai Sensor Jarak,” 2020.

E. A. Yulanda, “Penghitung Jumlah Dan Jarak Tempuh Langkah Kaki Menggunakan Sensor HC SR04 Modul MPU GY 80 Dan Arduino Uno,” EPIC Journal of Electrical Power Instrumentation and Control, vol. 6, no. 1, 2023.

Y. T. Win, N. Afzulpurkar, and C. Punyasai, “Shape Detection Of Object Behind Thin Medium Using Ultrasonic Sensors,” International Journal of Advanced Robotic Systems, vol. 15, no. 2, 2018.

M. N. Osman et al., “Low Cost Home Security Notification System Using IoT And Telegram Bot A Design And Implementation,” Journal of Computing Research and Innovation, vol. 7, no. 2, pp. 327–337, 2022.

M. Nizam, H. Yuana, and Z. Wulansari, “Mikrokontroler ESP32 Sebagai Alat Monitoring Pintu Berbasis Web,” 2022.